首页
服务项目
工程师
经典案例
专家咨询
技术圈
登录 / 注册
通导助手
船级社规范(含中国海事局)
LR 英国劳式船级社
LR-SR-LSS-008 Alarm
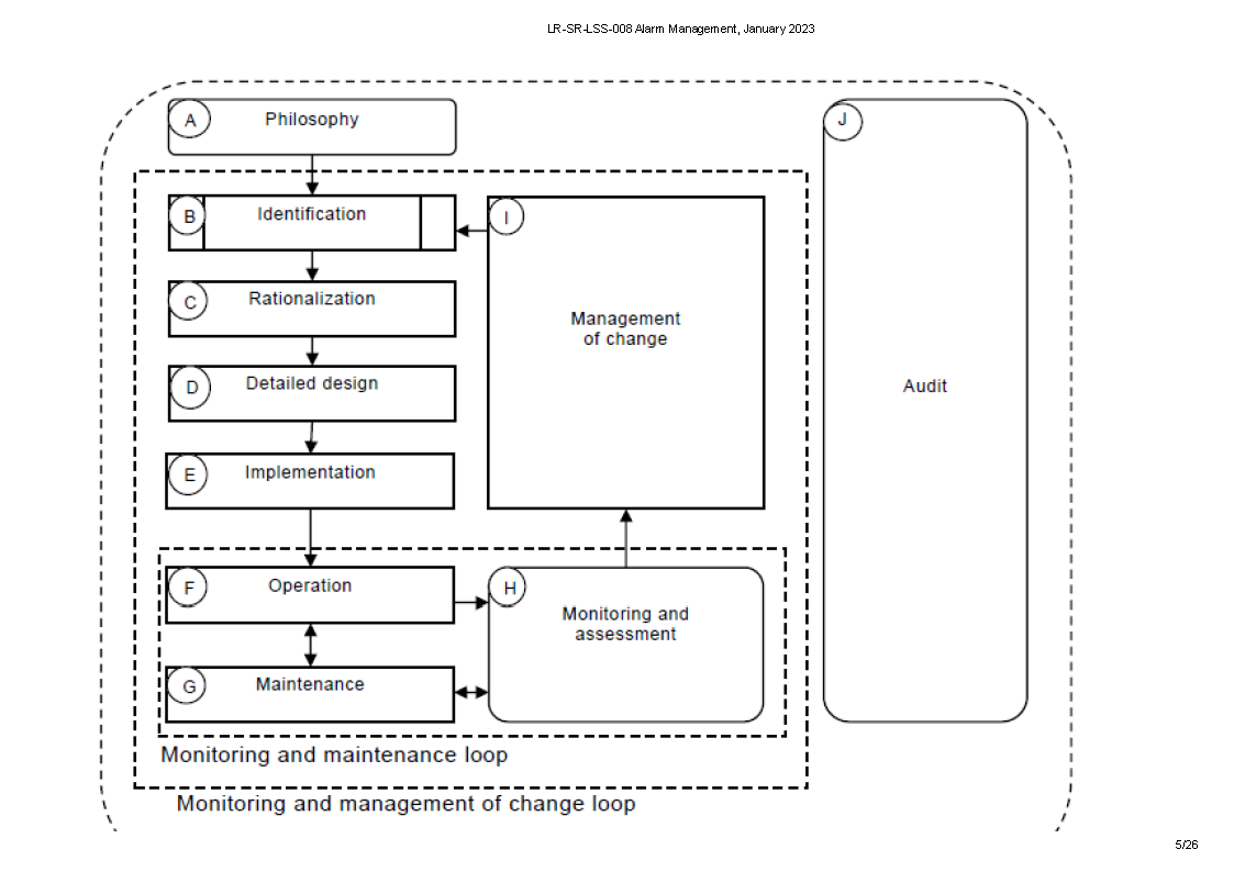
LR-SR-LSS-008 Alarm Management (01-2023) 警报管理
船级社规范(含中国海事局) / LR 英国劳式船级社
86阅读
2025-08-19
LR-SR-LSS-008 Alarm Management (01-2023) 警报管理